External Louvers
Introduction
Alugridx External Louvres are engineered to deliver reliable intake and exhaust air performance while providing effective weather protection for industrial and commercial applications. Designed with durable extruded aluminium construction and a clean architectural profile, they combine strength, functionality, and long service life in demanding environments.
Key Features
- Manufactured from high-quality extruded aluminium for strength, rigidity, and durability.
- Designed for both intake and exhaust air applications.
- 45° blade inclination on a 30–35 mm pitch helps minimize water ingress and improves weather resistance.
- Available with optional bird screen, insect screen, volume control damper, and filter arrangements.
- Suitable for large openings, with maximum single section sizes up to 1200 mm in length and width.
- Can be supplied in multiple sections with central partitions for larger size requirements.
- Optional filter thicknesses of 12.5 mm and 25 mm available.
Construction
The frame and blades are manufactured from premium extruded aluminium and finished in natural anodized finish. Blades are firmly riveted to the main frame using suitable “L” sections, ensuring a robust and rigid construction for long-term performance.
Standard Sizes
Standard sizes are available in a wide range of dimensions, with both length and width options extending up to 1200 mm. Custom sizes can also be offered in 50 mm increments to suit specific project requirements.
Standard Models & Accessories
Model: EL
Available Accessories / Options:
- B – Bird Screen
- S – Insect Screen
- V – Volume Control Damper
- F – 12.5 mm / 25 mm Filter
- FV – Combined Filter & Volume Control Damper
- T – Twin / Double Bank
Here is a shorter luxury catalogue version if you want it more compact for a brochure page:
External Louvres
Designed for intake and exhaust air applications, Alugridx External Louvres provide effective weather protection, durable aluminium construction, and reliable long-term performance for industrial and commercial use. Their rigid design, 45° blade configuration, and optional accessories make them a versatile solution for ventilation systems requiring both protection and airflow efficiency.
Highlights
- Extruded aluminium construction with natural anodized finish
- 45° fixed blade design for weather resistance and reduced water ingress
- Suitable for intake and exhaust air applications
- Optional bird screen, insect screen, damper, and filter options
- Available in standard and custom sizes up to 1200 mm
If you want, I can also format this into the exact Alugridx product catalogue style used for your other diffuser and grille descriptions.
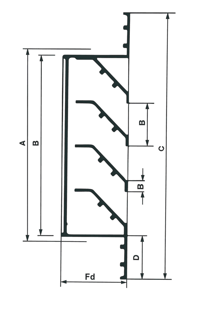
MODEL EL-Y
Exhaust or Intake Air Louver fitted with opposed blade volume control damper and a bird/insect screen.
Construction Details
| Code | Description |
|---|---|
| A | Normal size (L x W) |
| B | Neck size (L - 10) x (W - 10) |
| C | Overall size (B + 60) |
| D | Frame width = 30 mm |
| Bp | Blade pitch = 30 – 35 mm |
| Bt | Blade tip = 6 mm |
| Fd | Frame depth = 45 mm |
| Dd | Damper depth = 30 mm |
| Ft | Filter thickness = 12.5 mm – 25 mm |
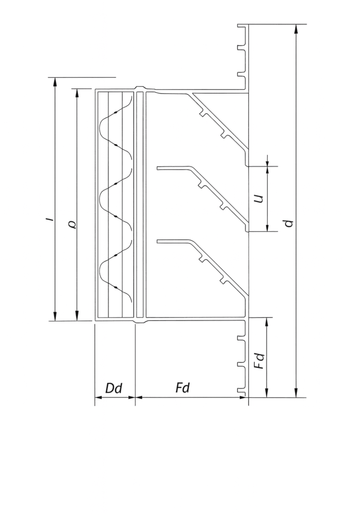
MODELS EL-F
Exhaust or Intake Air Louver fitted with a removable type washable air filter.
The thickness of the filter is 12.5 mm – 25 mm.
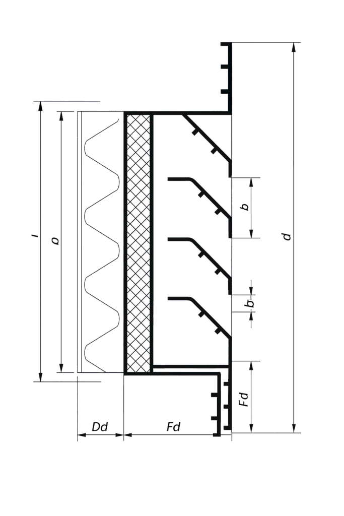
MODEL EL-FV
Exhaust or Intake Air Louver complete with a removable type washable filter and opposed blade Volume Control Damper.
The Damper can easily be operated with a screw driver from the face of the louver after removal of the frame.
MODEL EL-FV
Exhaust or Intake Air Louver complete with a removable type washable filter and opposed blade Volume Control Damper.
The Damper can easily be operated with a screw driver from the face of the louver after removal of the frame.
Construction Details
| Code | Description |
|---|---|
| A | Normal size (L x W) |
| B | Neck size (L - 10) x (W - 10) |
| C | Overall size (B + 60) |
| D | Frame width = 30 mm |
| Bp | Blade pitch = 30 – 35 mm |
| Bt | Blade tip = 6 mm |
| Fd | Frame depth = 45 mm |
| Dd | Damper depth = 30 mm |
| Ft | Filter thickness = 12.5 mm – 25 mm |
Ordering Data & Fixing Details
Ordering Data
Fixing Details
Countersunk screw fixing type ‘S’ is the standard
Recommended for side wall or sill fixing.
Finishing Details
Powder-coated color finish
Natural anodized aluminum
Mill finish aluminum
Bronze anodized