Sand Trap Louvers
Introduction
Silent Features
ALUGRIDX Sand Trap Louvres are manufactured to highest standards and designed to separate dust and sand from air stream at low velocities and moderate pressure drop, it will separate up to of solid particles held in the atmosphere.
Available in two different types of construction: mill finish aluminum and galvanized sheet steel.
Provided with a self-emptying base plate and a āZā profile in case of multiple units installation one above the other.
Can be provided with a detachable filter of 25 mm / 50 mm thickness for better filtration.
Can be provided with an opposed blade Volume Control Damper for positive air volume control.
Available Standard Sizes
| L | 200 | 300 | 400 | 500 | 600 | 700 | 800 | 900 | 1000 | 1100 | 1200 |
|---|---|---|---|---|---|---|---|---|---|---|---|
| 150 | 200 | 300 | 400 | 500 | 600 | 700 | 800 | 900 | 1100 | 1200 |
| MODEL | NOMENCLATURE | ACCESSORIESS |
|---|---|---|
| EL | 'B' | Bird Screen |
| EL | 'S' | Insect Screen |
| EL | 'V' | Volume Control Damper |
| EL | 'F' | 12.5 mm / 25 mm filter |
| EL | 'FV' | Combine Filter & Volume Control Damper |
| EL | 'T' | Twin / Double Bank |
MODEL LST
Air Intake Sand Trap Louver manufactured out of aluminum (Suffix āAā) or galvanized sheet steel (Suffix āSā).
MODEL LST-B & LST-S
Air Intake Sand Trap Louver same as model LST model but with a bird screen or insect screen respectively as accessory.
MODEL LST-F
Air Intake Sand Trap Louver same as model LST but is provided with a removable type aluminum filter as accessory.
⢠The filter thickness available is 25 mm & 50 mm.
MODEL LST-V
Air Intake Sand Trap Louver same as model LST but with an opposed blade Volume Control Damper.
⢠The Damper can be operated through a lever projected.
MODEL LST-B & LST-S
Air Intake Sand Trap Louver same as model LST model but with a bird screen or insect screen respectively as accessory.
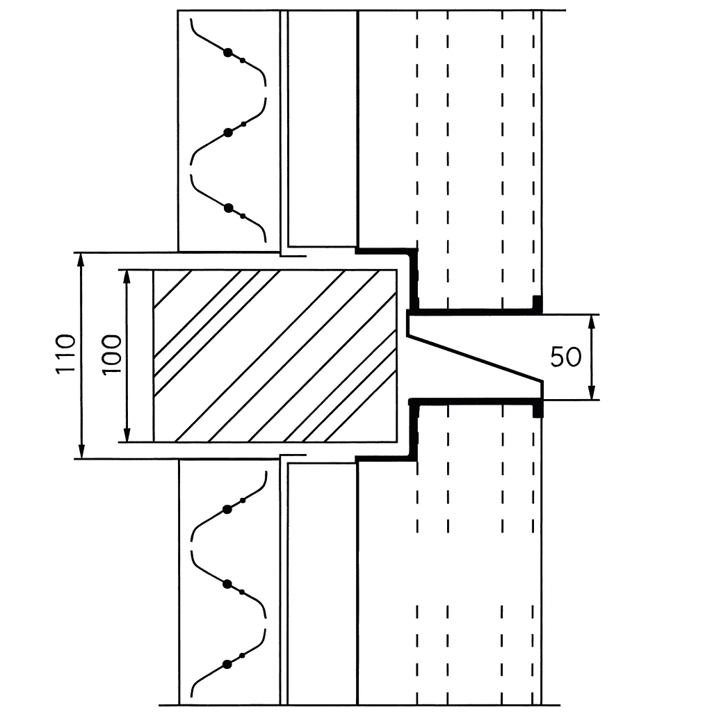
HORIZONTAL SECTION
āZā profile to combine the mounting of units one above the other to enable
Performance Data
For Sand Trap Louver Models LST ā āBā / āSā / āVā / āFā / āFVā
| L x H mm | 300 | 450 | 600 | 750 | 900 | 1050 | 1200 | 1350 | 1500 |
|---|---|---|---|---|---|---|---|---|---|
| 150 | 0.014 | 0.022 | 0.029 | 0.036 | 0.043 | 0.050 | 0.058 | 0.065 | 0.072 |
| 300 | - | 0.043 | 0.058 | 0.072 | 0.086 | 0.101 | 0.115 | 0.130 | 0.144 |
| 450 | - | 0.065 | 0.086 | 0.108 | 0.130 | 0.151 | 0.173 | 0.194 | 0.216 |
| 600 | - | - | 0.115 | 0.144 | 0.173 | 0.202 | 0.230 | 0.259 | 0.288 |
| 750 | - | - | - | 0.180 | 0.216 | 0.252 | 0.288 | 0.324 | 0.360 |
| 900 | - | - | - | - | 0.259 | 0.302 | 0.346 | 0.389 | 0.432 |
| 1050 | - | - | - | - | - | 0.353 | 0.403 | 0.454 | 0.504 |
| 1200 | - | - | - | - | - | - | 0.461 | 0.518 | 0.576 |
| 1350 | - | - | - | - | - | - | - | 0.583 | 0.648 |
| 1500 | - | - | - | - | - | - | - | - | 0.720 |
Ordering Procedure
Fixing Details
⢠Concealed type fixing (Suffix āCā) is the Standard supply.
⢠Recommended for side wall installation.
Available Finish
⢠Mill Finish Aluminum (Suffix āAā)
⢠Galvanized Sheet Steel (Suffix āSā)
⢠Powder Coated Color Finish
Suggested Sound Levels
| Category | Space Type | Range of sound levels (dB A) | Range of NC curves (NC) |
|---|---|---|---|
| Large buildings | Radio and TV studios | 25-30 | 20-25 |
| Large buildings | Concert and Opera halls | 25-35 | 20-30 |
| Large buildings | Churches | 25-35 | 20-30 |
| Large buildings | Cinemas | 35-45 | 30-40 |
| Large buildings | Banquet halls | 40-50 | 35-45 |
| Hospitals | Private rooms | 30-40 | 25-35 |
| Hospitals | Operation theaters | 35-45 | 30-40 |
| Hospitals | Waiting rooms | 40-50 | 35-45 |
| Offices | Board rooms | 25-35 | 20-30 |
| Offices | Conference rooms | 30-40 | 25-35 |
| Offices | Executive offices | 35-45 | 30-40 |
| Offices | General open offices | 35-45 | 30-40 |
| Offices | Typing pools | 40-50 | 35-45 |
| Offices | Computer rooms | 45-65 | 40-55 |
| Residential buildings | Single family homes (rural & suburban) | 25-35 | 20-30 |
| Residential buildings | Single family homes (urban) | 30-40 | 25-35 |
| Residential buildings | Apartment buildings | 35-45 | 30-40 |
| Damage risk criteria | 90 | 85 |